快照操作
大部分云服务器厂商都会提供一个叫“快照”的功能,快照是针对于磁盘来说的。顾名思义就是快速的拍照,首先是很快、然后是拍照,照简单理解为拷贝、记录的意思,即记录某个时刻硬盘的数据,全部拷贝,一键恢复。
如果您对磁盘进行了快照设定,如下场景您便高枕无忧:
工作了几天的成果,被误删或弄得乱七八糟,想复原
黑客把我的东西弄的面目全非,想修复
小编语:云服务器不启用自动快照功能=开车不买交强险。如有有快照备份,就可以一键恢复到指定的时间点。也就是现场还原,很好的功能,千万记得用起来哦。
示例:阿里云快照制作
下面我把阿里云如何做快照做个说明:
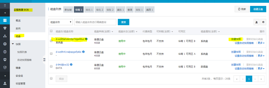
登录云控制台,进入“磁盘”,选择您的系统盘,点击“创建快照”;

进入“快照列表”查看快照生成情况,进度100%表示快照生成成功。
以上仅是把当前磁盘状态进行备份,更重要的功能是自动创建快照。请点击“设置自动快照策略”,然后选择一个快照策略

快照设置详情请参考:阿里云快照官方文档 以获取精准、全面的方案
示例:腾讯云快照制作
腾讯云创建快照的方法:
打开云服务器CVM控制台 。
单击导航窗格中的【云硬盘】(如果您的服务器系统盘是“本地硬盘”,将不能使用快照功能)。

点击需要创建快照的列表项后的【创建快照】按钮。
等待快照创建。
快照设置详情请参考:腾讯云官方快照文档 以获取精准、全面的方案
Last updated